曝光详情
APP下载 登录
    我要曝光
    龙G
    发表于 中国香港
    举报

    TCC拓普泄露客户密码,恶意刷空客户账户,私自操作客户账户

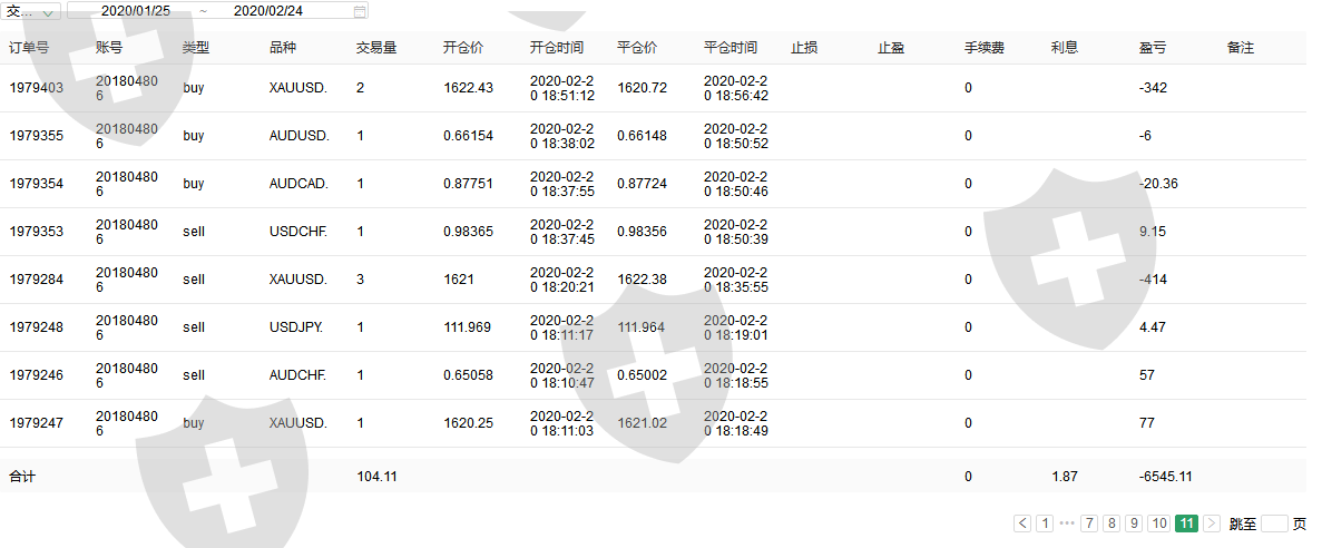
    本人自2018年9月份起使用TCC拓普平台,先后和朋友共3个账户在该平台交易。该平台出金缓慢,到了2019年11月份起,出金迟迟不到账,本人和朋友共三个账户先后申请重置密码后,于2020.01.22申请出金,至今还是待审核。平台于2020.02.20开始,恶意对我们账户进行刷空。泄露客户密码,恶意刷空客户账户,私自操作客户账户。频繁买入卖出,刷空账户资金,截图为证。严重侵害了我们客户的利益,严厉谴责曝光该平台。恳请110能给我们帮助,挽回损失。

    诱导欺诈

    举报

    提示
    ×

    确认已解决吗?