无法提款
诈骗者 OmegaPro它不会让我提取我的钱
澳大利亚诈骗
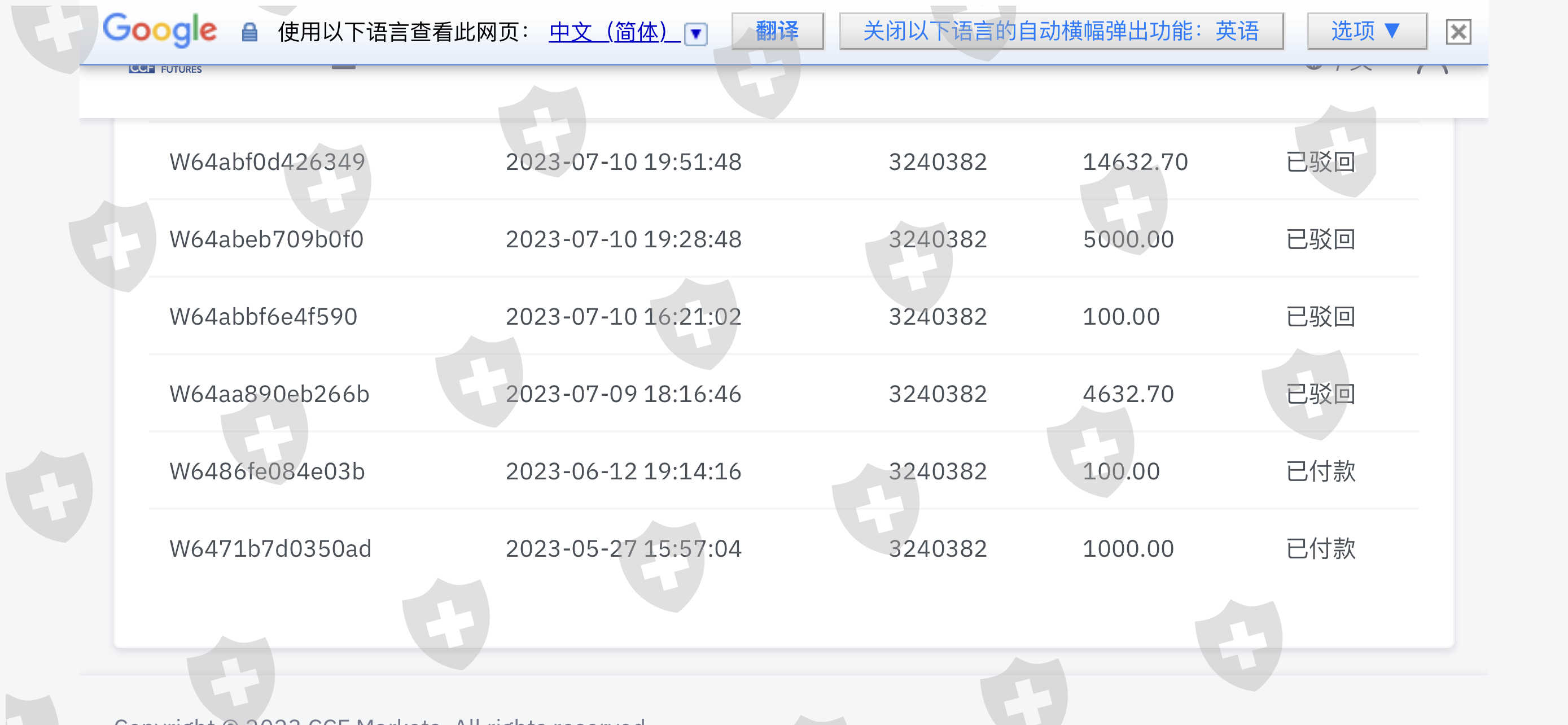
金融诈骗!手机号做假,杀猪盘!此平台专门骗在澳洲华人!
CCF Markets · CCF Markets
确认已解决吗?
您确定要结贴吗?
天眼投诉数据均来自各国外汇监管机构的官方数据,如英国FCA、澳大利亚ASIC等,所公布的内容亦均以公正、客观和实事求是为宗旨,不向外汇交易平台收取公关费、广告费、排名费、数据清洗费等灰色费用。天眼投诉会尽最大努力保持我方数据与各监管机构等权威数据方数据的一致及同步性,但不承诺与其实时保持一致和同步。
鉴于外汇行业的错综复杂,不排除有个别外汇交易商通过欺骗手段获得监管机构的合法注册。如天眼投诉所公布数据与实际情况有不符之处,请通过天眼投诉“投诉”和“纠错”功能,向我们提出,我们将及时进行核实查证,并公布相关结果。
外汇、贵金属和差价合约(OTC场外交易)是杠杆产品,存在较高的风险,可能会导致亏损您的投资本金,请理性投资。
特别提示,天眼投诉所列信息仅供参考,不构成投资建议。外汇平台由客户自行选择,平台操作带来的风险,与天眼投诉无关,客户需自行承担相关后果和责任。